
Dwukanałowy wzmacniacz akustyczny
inż. W. Moszczakow
Radioamator i Krótkofalowiec, Rok 12, Listopad 1962r. Nr 11
Budowa coraz doskonalszych urządzeń elektroakustycznych jest jedną z intensywnie rozwijających się gałęzi działalności radioamatorskiej. Podstawową częścią zestawu elektroakustycznego jest dobry wzmacniacz. W urządzeniach najwyższej klasy stosuje się często wzmacniacze dwukanałowe, umożliwiające obniżenie do minimum zniekształceń intermodulacyjnych oraz upraszczające budowę i regulację zespołów głośnikowych. Poniżej podajemy tłumaczenie opisu doskonałego dwukanałowego wzmacniacza akustycznego, który był opublikowany w radzieckim miesięczniku "Radio" nr 5/1961r.
Pasmo częstotliwości akustycznych opisywanego wzmacniacza zawiera się w zakresie 30Hz÷15kHz. Współczynnik zawartości harmonicznych jest równy 0.5% przy częstotliwości 1000Hz, a na krańcach pasma nie przekracza 2%. Moc wyjściowa kanału większych częstotliwości akustycznych wynosi 2VA, a kanału mniejszych częstotliwości - 4VA. Czułość wzmacniacza - 150mV. Przydźwięk sieci jest co najmniej o 50dB niższy od poziomu napięcia znamionowego kanału mniejszych częstotliwości. Współczynnik zniekształceń intermodulacyjnych kanału większych częstotliwości nie przekracza 1,5%.
Pierwszy stopień wzmacniacza jest wspólny dla obu kanałów. Na wejściu znajduje się potencjometr służący do regulacji wzmocnienia całego wzmacniacza. Zastosowano potencjometr o niewielkiej oporności (10kΩ), co zmniejsza wpływ niepożądanych pól elektromagnetycznych na obwód siatkowy lampy. Niewielką oporność wejściową wzmacniacza należy brać pod uwagę przy doborze źródeł audycji. W przypadku, np. adaptera krystalicznego należy zastosować potencjometr o większej oporności (0,3MΩ÷1MΩ).
Na wejściu kanału mniejszych częstotliwości znajduje się filtr utworzony z oporników R5 i R6 oraz kondensatora C5 i C6. Przebiegi o większych częstotliwościach przedostają się do kanału wzmocnienia tych częstotliwości poprzez kondensatory o niewielkiej pojemności (C15 i C16).
Kanał większych częstotliwości (na rysunku 1 - dolny) ma dwa stopnie wzmocnienia. Potencjometr R24 służy do regulacji wzmacniania większych częstotliwości składowych audycji. Zakres regulacji wynosi ±15dB przy częstotliwości 15kHz.
W celu dodatkowego stłumienia składowych audycji o mniejszych częstotliwościach, zastosowano obwód ujemnego sprzężenia zwrotnego poprzez kondensator C21 i opornik R27. Zmniejszenie zniekształceń nieliniowych kanału większych częstotliwości uzyskuje się dzięki zastosowaniu ujemnego sprzężenia zwrotnego z wyjścia tego kanału na jego wejście. Napięcie ujemnego sprzężenia zwrotnego pobierane z wyjścia transformatora Tr2 jest doprowadzane do katody lampy poprzez opornik R28 włączony w szereg z tym uzwojeniem. Dodatkowe ujemne sprzężenie zwrotne (prądowe) uzyskuje się na oporniku R31. Transformator wyjściowy tego kanału (Tr2) zasila zespół składający się z 5 głośników wysokotonowych zasilanych poprze kondensator C20. Głośniki te przeznaczone są do odtwarzania częstotliwości w zakresie od 5kHz do 15kHz. Drugą grupę stanowią trzy głośniki średniotonowe, przyłączone bezpośrednio do części wtórnego uzwojenia transformatora. Pokrywają one zakres częstotliwości od 1 do 7kHz.
Czytaj więcej: Dwukanałowy wzmacniacz akustyczny (RiK 1962/11)

Prosty wzmacniacz przeciwsobny 6W
inż. Andrzej Depczyk
Radioamator i krótkofalowiec, Rok 12 Sierpień 1962r. Nr 8
Poniższy opis dotyczy układu, którego model został zbudowany na nasze zlecenie i praktycznie wypróbowany przez konstruktora.
Ostatnio można zauważyć tendencję do stosowania w układach elektronicznych - lamp wielosystemowych, najczęściej podwójnych i potrójnych. Taką lampą dwusystemową jest lampa typu ECL82. Składa się ona z pentody mocy, o mocy admisyjnej 7W i z triody wzmacniającej. Lampa ta jest przeznaczona w zasadzie do telewizyjnych układów odchylających, jednak w technice małej częstotliwości daje również doskonałe wyniki.
W opisanym wzmacniaczu m.cz. zastosowano dwie takie lampy. Trzecia lampa typu EC92 pracuje jako wzmacniacz wstępny w układzie regulatora charakterystyki częstotliwościowej, czyli mówiąc inaczej - w układzie regulatora barwy dźwięku.
Koszt budowy opisanego wzmacniacza jest niewielki, wynosi około 600 złotych, same zaś wskaźniki jakościowe układu są nadspodziewanie dobre.
Charakterystyka częstotliwościowa jest liniowa w zakresie 20Hz÷20kHz, a współczynnik zawartości harmonicznych przy mocy wyjściowej 6W - mniejszy od 2%.
Napięcie szumów wynosi około 0,001 napięcia wyjściowego przy pełnym wysterowaniu. Przy bardzo starannym wykonaniu transformatora wyjściowego i przy zastosowaniu lamp końcowych importowanych (np. "Mullard"), uzyskuje się większą moc wyjściową - do 8W.
Na rysunku 1 przedstawiony jest układ blokowy wzmacniacza.

Rys. 1. Układ blokowy wzmacniacza
Pierwszy stopień stanowi tzw. wzmacniacz wstępny z korekcją charakterystyki częstotliwościowej (osobno dla bardzo niskich i dla wysokich tonów). W pierwszym stopniu pracuje trioda EC92, wybrana ze względu na małe rozmiary i stosunkowo duży współczynnik amplifikacji.
Drugi stopień składa się z dwóch triod (po jednej z każdej z lamp ECL82); triody te pracują w układzie odwracacza fazy, którego zadaniem jest przesunięcie w fazie o 1800 napięć sterujących stopień mocy.
Trzeci stopień - to przeciwsobny wzmacniacz mocy na pentodowej części lamp ECL82.
Na schemacie blokowym pokazany jest także zasilacz, który dostarcza zmienne napięcie 6,3V do żarzenia lamp oraz wygładzone napięcie stałe, zasilające obwody anodowe.
Przejdę teraz do omówienia działania poszczególnych stopni urządzenia.
Zasilacz składa się z transformatora dostarczającego napięcia zmienne o odpowiedniej wartości, prostownika zamieniającego prąd zmienny na tzw. prąd jednokierunkowy oraz filtru eliminującego tętnienia sieci. Transformator dostarcza napięcia zmienne 6,3V (żarzenie lamp) i 220V (zasilanie prostownika). Prostownik pracuje w układzie Graetz'a. Zasada działania prostownika w takim układzie przedstawiona jest na rysunku 2a i 2b.
Czytaj więcej: Prosty wzmacniacz przeciwsobny 6W (RiK 1962/08)

Przystawka stereofoniczna do odtwarzania nagrań z płyt gramofonowych
M.F.
Radioamator i Krótkofalowiec, Rok 11 Grudzień 1961r. Nr 12
Stereofonia zyskuje coraz szerszy krąg amatorów. Na razie dużą popularnością cieszą się płyty z nagraniami stereofonicznymi, a niedługo będziemy mogli odbierać stereofoniczne programy drogą radiową. Przemysł krajowy przystąpił już do produkcji płyt stereofonicznych, zaś Zakłady Radiowe im. M. Kasprzaka opracowały model luksusowego odbiornika, wyposażonego w dwukanałowy wzmacniacz stereofoniczny małej częstotliwości do odtwarzania nagrań z płyt gramofonowych.
Przed amatorem muzyki stereofonicznej stanie jednak problem wysokiego kosztu takiego odbiornika, względnie konieczność budowy specjalnego wzmacniacza, którego koszt również jest niemały.
Niewątpliwie wielu miłośników muzyki stereofonicznej zainteresuje się budową taniej przystawki, która współpracując z normalnym odbiornikiem radiowym pozwoli na odtwarzanie nagrań stereofonicznych. Zasada działania takiej przystawki (rysunek 1) jest następująca.

Rys. 1.
Dwa jednakowe, oddzielne dla każdego kanału, wzmacniacze sterują dodatkowe, odpowiednio w pokoju ustawione głośniki. Wzmacniacze te zasilają głośniki prądami o częstotliwościach powyżej 300Hz. Jak wiadomo, częstotliwości te decydują o wrażeniu kierunkowości. Natomiast część napięcia o mniejszych częstotliwościach steruje posiadany odbiornik, który służy do odtwarzania niskich tonów, nie decydujących wprawdzie o kierunkowości, ale potrzebujących najwięcej energii ze względu na swą dużą amplitudę. Przez regulację siły głosu w posiadanym odbiorniku można równocześnie "dozować" natężenie basów.
Czytaj więcej: Przystawka stereofoniczna do odtwarzania nagrań z płyt gramofonowych (RiK 1961/12)

Dwulampowy wzmacniacz bateryjny
K.W.
Radioamator i Krótkofalowiec, Rok 11, 1961 r. Sierpień, Nr 8
Zamieszczone w poprzednich numerach miesięcznika opisy konstrukcji jednolampowych wzmacniaczy małej częstotliwości dopomogły nam do zaznajomienia się z ogólną zasadą działania lampy elektronowej oraz z najprostszymi układami lampowymi. Obecnie, mając już pewne minimum wiadomości teoretycznych i praktyki radioamatorskiej, możemy przystąpić do samodzielnego wykonania bardziej złożonej aparatury wzmacniającej.
Rozbudowa jednolampowego wzmacniacza małej częstotliwości, którego zadaniem jest w zasadzie wzmacnianie bardzo niewielkich sygnałów otrzymanych z obwodu detekcyjnego i działających na obwód siatkowy lampy elektronowej tego wzmacniacza, powinna iść w kierunku podniesienia jego mocy wyjściowej. Duża moc wyjściowa pozwoli nam na reprodukcję audycji przy użyciu głośnika. We wzmacniaczu, jaki przedstawimy dzisiaj naszym Czytelnikom, pierwsza lampa pracować będzie w układzie wzmocnienia napięciowego, druga zaś - lampa wyjściowa (głośnikowa) - będzie sterowana wzmocnionymi już sygnałami uzyskanymi z pierwszego stopnia wzmacniacza.

W stopniu wyjściowym pracują z reguły odpowiednie typy lamp, specjalnie dostosowane do wykonywania tych zadań. Popularnie nazywa się je lampami "głośnikowymi". W naszym wzmacniaczu zastosujemy w pierwszym stopniu znaną nam już lampę typu 1S5T (bateryjna pentoda z diodą) oraz jako głośnikową, lampę typu 3S4T. Obie te lampy są bardzo popularnymi typami, zastosowanymi, między innymi, w znanym turystycznym odbiorniku "Szarotka", z nabyciem ich więc nie powinno być kłopotów. Wzmacniacz nasz będzie pełnowartościową aparaturą, mogącą znaleźć szerokie zastosowanie do różnych celów - o czym będzie jeszcze mowa w końcowej części opisu.
Czytaj więcej: Dwulampowy wzmacniacz bateryjny (RiK 1961/08)

David Hafler
Zmodernizuj swój wzmacniacz Williamson
Audiocraft, tom I, numer 3, styczeń 1956 r.
Układ wzmacniacza Williamsona został po raz pierwszy opublikowany w Anglii w 1947 roku, a w USA w 1949 roku. Został zaakceptowany przez środowisko, zyskał dużą popularność oraz był podstawą kilku modyfikacji oryginalnego projektu. Najbardziej podstawową zmianą była wersja tzw. ultraliniowa, którą opracowałem, a następnie opisałem*. Ten układ skorygował dwa podstawowe braki w oryginalnym projekcie - zwiększył moc wzmacniacza do 25 lub 30 watów i poprawił margines stabilności sprzężenia zwrotnego.
Jak zawsze, postęp związany z projektowaniem układów wzmacniaczy trwa dalej: możliwe są dalsze ulepszenia w konstrukcji Williamsona (zarówno w jego wersji triodowej, jak i ultraliniowej). Te ulepszenia ponownie korygują ograniczenia związane z mocą wyjściową i stabilnością pracy.
Zwiększanie mocy wyjściowej
Obecne wymagania dotyczące mocy wyjściowych wzmacniaczy znacznie różnią się od tych sprzed kilku lat. Wtedy większość ludzi twierdziła: „Dziesięć watów mi wystarczy”. Teraz jednak wymagania dotyczące mocy znacznie wzrosły. Jest to niezbędne aby zapewnić realistyczne, niezakłócone odtwarzanie dźwięku. Ponadto rozszerzono charakterystykę częstotliwościową wzmacnianego sygnału źródłowego, co również wprowadza potrzebę ponownej oceny wymagań dotyczących mocy wzmacniacza. Szersza charakterystyka częstotliwościowa oznacza, że wzmacniacz musi radzić sobie z mocą przy większych krańcowych wartościach częstotliwości. W tych skrajnych wartościach częstotliwości charakterystyka impedancji głośnika odchyla się znacznie od wartości nominalnej. Oznacza to, że wzmacniacz jest niedopasowany na skrajnych częstotliwościach, a niedopasowanie zmniejsza maksymalną moc każdego wzmacniacza.

inż. Konrad Widelski
Wszystko o gitarze elektrycznej - część III
Radioamator i Krótkofalowiec Polski, Rok 16, Listopad 1966r., Nr 11
(część 1), (część 2)
W poprzednich częściach (w numerach 9 i 10/66) omówiliśmy zasadnicze problemy związane z gitarą elektryczną oraz podaliśmy opisy konstrukcyjne dwóch wzmacniaczy: mniejszej mocy (z jedną lampą głośnikową) i większej mocy z dwiema lampami głośnikowymi w układzie przeciwsobnym. Orientacyjna moc tych wzmacniaczy wynosi około 3÷4W (mniejszy) i 10÷12W (większy). Zbudowanie wzmacniacza jeszcze większej mocy jest już znacznie trudniejsze. Trudności te wynikają między innymi także w uzyskaniu właściwych materiałów, a przede wszystkim transformatorów wyjściowych i sieciowych.
Mówiąc o wzmacniaczu większej mocy mamy na myśli wzmacniacz o mocy około trzykrotnie większej od omówionego, tzn. o mocy około 40÷50W. Tylko bowiem takie, przynajmniej trzykrotne zwiększenie mocy aparatury wzmacniającej jest dopiero wyraźnie zauważalne. Zmiana mocy aparatury, np. z 10÷12W na 15÷17W (maksymalna moc, jaką można uzyskać z pary lamp typu EL84) jest praktycznie niezauważalna. Nie bagatelny jest również koszt aparatury wzmacniającej o mocy około 40÷50W oraz również koszt głośników, który przy wspomnianych mocach wzrasta już do tysięcy złotych. Tak więc reasumując, stwierdzamy, że w zakresie możliwości radioamatorskich wykonywanie wzmacniaczy większych mocy niż z parą lamp typu EL84 w stopniu końcowym, nie wchodzi w rachubę. I tutaj powstaje zasadnicze pytanie; czy wzmacniacze o mocy 4W i 12W, jakie omówiliśmy wyżej, są przydatne dla gitarzysty? Czy moce te wystarczą dla jego normalnych potrzeb?
Stosowanie wzmacniaczy
Wbrew pozorom, moce wyjściowe opisanych wzmacniaczy są dość znaczne. Pod określeniem "znaczne" rozumiemy, że w większości przypadków wystarczają one dla przeciętnych potrzeb gitary elektrycznej. Warto tu podkreślić, że o efekcie końcowym, tj. o nagłośnieniu takiego czy innego pomieszczenia, decyduje moc akustyczna, to znaczy moc wytworzona przez głośnik (moc drgań akustycznych wytwarzanych w powietrzu przez membrany głośników). Sprawność głośnika jest bardzo niewielka, a co ważniejsze - nie jest ona jednakowa dla różnych głośników. Przeciętny pojedynczy głośnik posiada sprawność rzędu 2%, a więc przykładowo, z 10W mocy elektrycznej doprowadzonej do głośnika zaledwie ułamek wata zostaje przetworzony na drgania akustyczne.
Dla wielu Czytelników powyższe stwierdzenia mogą wydawać się nieco zaskakujące, lecz niestety - nie ma na to żadnej rady. Warto jednak zastanowić się, co robić w tej sytuacji.
Pierwszy wniosek jaki się nasuwa, to ten, że nie ma sensu stosowanie wzmacniaczy dużej mocy z niskosprawnymi głośnikami. Bardziej celowe będzie użytkowanie wzmacniacza mniejszej mocy, a więc tańszego i łatwiejszego w budowie, w połączeniu z głośnikiem o większej sprawności. Zgoda - potwierdzi każdy, ale skąd wziąć takie głośniki? O tym pomówimy później, na razie przejdziemy do jeszcze innego zagadnienia rzutującego na zagadnienie mocy aparatury wzmacniającej dla gitary elektrycznej. Jest to zagadnienie mocy potrzebnej dla uzyskania tych samych efektów akustycznych przy różnych częstotliwościach. Nie będziemy wdawać się w bardziej szczegółowe rozważania, stwierdzimy natomiast, że dla wywołania u słuchacza jednakowego wrażenia głośności potrzebne są moce akustyczne tym większe, im niższą częstotliwością dźwięku operujemy. Dla przykładu warto podać, że moce akustyczne wymagane dla najniższych tonów (30÷40Hz) są około 10-krotnie większe od mocy wytwarzających dla tego samego celu w środkowych rejestrach (około 1000Hz). Stąd drugi, również bardzo ważny dla nas wniosek: dla instrumentów basowych stosujemy większe moce, dla średniotonowych - mniejsze.
Po tym niezbyt może szczegółowym wprowadzeniu w podstawowe zagadnienia techniki nagłośniania możemy przystąpić do sformułowania wniosków końcowych.
W obu wyżej podanych przykładach uzyskane wyniki (tj. nagłośnienie pomieszczenia) mogą być poprawne jedynie w przypadku zastosowania zestawu głośnikowego o dużej sprawności. Zestaw ten, dla uzyskania maksymalnej mocy z danego wzmacniacza, musi być ponadto poprawnie dopasowany do oporności wyjściowej wzmacniacza. Oczywiście mamy na myśli przeciętne warunki, a więc niezbyt dużą salę o niezłych własnościach akustycznych. Wspomnianymi mocami nie można natomiast nagłośnić dużej sali o wybitnie złej akustyce (np. hali fabrycznej); nie są one również wystarczające w przypadku zbyt żywej reakcji "nastoletniej" publiczności.

inż. Konrad Widelski
Wszystko o gitarze elektrycznej - część II
Radioamator i Krótkofalowiec Polski, Rok 16, Październik 1966r., Nr 10
(część 1), (część 3)
W pierwszej części artykułu (nr 9/66) podano opis konstrukcyjny prostego wzmacniacza dwulampowego. Wzmacniacz ten, poprawnie wykonany, w zupełności zaspokoi potrzeby gitarzysty. Tym niemniej moc jego w pewnych przypadkach (w większych pomieszczeniach, szczególnie dla gitary basowej) może się okazać niewystarczająca. Dlatego też dla bardziej zaawansowanych radioamatorów podajemy opis konstrukcyjny wzmacniacza w układzie przeciwsobnym o mocy wyjściowej 12W. Oczywiście do budowy takiego wzmacniacza powinni przystąpić jedynie radioamatorzy posiadający już "na swym kącie" jakieś pozytywne osiągnięcia w zakresie konstrukcji wzmacniaczy, bowiem samodzielna budowa tego urządzenia nie jest prosta.
WZMACNIACZ W UKŁADZIE PRZECIWSOBNYM
Wzmacniacz został zestawiony z minimalnej ilości elementów, dość łatwo dostępnych na rynku. Jedynie transformator wyjściowy należy wykonać we własnym zakresie, gdyż jako nietypowy nie jest osiągalny w sprzedaży.
Wzmacniacz odznacza się bardzo dobrymi - jak na amatorskie warunki - parametrami. Zostały one osiągnięte prostymi środkami, a mianowicie przez zastosowanie w kilku punktach układu ujemnego sprzężenia zwrotnego oraz bezpośredniego sprzężenia pomiędzy stopniami.
Na rysunku 9 przedstawiony jest schemat ideowy wzmacniacza. Jak widać, ilość lamp i elementów istotnie została ograniczona do rzadko spotykanego minimum. W pierwszym stopniu pracuje jedna z triod lampy ECC83. Anoda tej lampy jest bezpośrednio przyłączona do siatki sterującej następnego stopnia wzmacniacza. Stopień ten, obsadzony drugą triodą lampy ECC83 pracuje w układzie odwracania fazy.

Rys. 9. Schemat ideowy wzmacniacza o mocy 10W
Zastosowany układ odwracania fazy (tzw. "katodyna") jest niezawodny w swej prostocie. W stopniu końcowym pracuje para lamp typu EL84. Oczywiście, zgodnie z wymaganiami współczesnej techniki Hi-Fi, w stopniu tym zastosowano ujemne sprzężenie zwrotne w siatkach ekranujących (tzw. "układ ultralinear"). Siatki te nie są przyłączone - jak to zwykle bywa - bezpośrednio do źródła wysokiego napięcia, lecz do specjalnych odczepów na uzwojeniu pierwotnym transformatora wyjściowego. Stosowanie takiego sprzężenia zwrotnego komplikuje nieco wykonanie transformatora wyjściowego, lecz jest nader opłacalne, gdyż około dwukrotnie zmniejsza zniekształcenia nieliniowe wnoszone przez stopień mocy. Ponadto cały wzmacniacz jest objęty głębokim sprzężeniem zwrotnym, które biegnie od wtórnego uzwojenia transformatora wyjściowego do katody wzmacniacza wstępnego (lewy na schemacie system triody). Zrealizowanie sprzężenia zwrotnego obejmującego cały wzmacniacz jest jest możliwe między innymi dzięki bezpośredniemu sprzężeniu jego dwóch pierwszych stopni.
Do wykonania wzmacniacza potrzebne są następujące części i elementy:

inż. Konrad Widelski
Wszystko o gitarze elektrycznej - część I
Radioamator i Krótkofalowiec Polski, Rok 17, Wrzesień 1966r., Nr 9
(część 2), (część 3)
Ze względu na niesłabnące zainteresowanie elektrycznymi instrumentami muzycznymi, a zwłaszcza tak bardzo popularną gitarą elektryczną - publikujemy pierwszą część napisanego na ten temat artykułu. Całość opracowania obejmująca trzy części powinna dać zainteresowanym odpowiedź na nurtujące ich wątpliwości.
Gitara elektryczna różni się od zwykłej (mechanicznej) tym, że dla jej użytkowania konieczna jest odpowiednia aparatura wzmacniająca. Zanim jednak bliżej zajmiemy się tą aparaturą, poświęcimy nieco miejsca samej gitarze. Jej zasada działania bynajmniej nie jest skomplikowana. Na rysunku 1 przedstawiony jest schemat ideowy tzw. przetwornika magnetoelektrycznego, który jest zasadniczym elementem instrumentu.

Rys. 1. Budowa przetwornika magnetoelektrycznego
Przetwornik taki składa się z magnesu trwałego i osadzonych w pobliżu jego biegunów dwóch szpul z uzwojeniem wykonanym z cienkiego drutu izolowanego. Całość jest umieszczona bezpośrednio pod stalowymi strunami instrumentu. Podczas gry wprawiona w ruch struna zmienia swoją odległość od czoła magnesu. Powoduje to z kolei zmiany strumienia magnetycznego w układzie oraz indukowanie się sił elektromotorycznych w uzwojeniu. Wytwarzane przez przetwornik napięcia elektryczne jak najbardziej odpowiadają drganiom struny, a więc i dźwiękom, które ona wytwarza. Napięcia te powinny być następnie odpowiednio wzmocnione i odtwarzane przez głośnik.
Wytworzone przez głośnik drgania mechaniczne powietrza odbierają słuchacze jako wrażenia dźwiękowe. Schemat blokowy tego rodzaju elektroakustycznego zestawu jest uwidoczniony na rysunku 2.

Rys. 2. Schemat blokowy zestawu elektroakustycznego
Jako gitarę elektryczną można używać również posiadaną zwykłą gitarę mechaniczną. W tym celu należy domontować do niej przetwornik magnetoelektryczny. Przetworniki takie są produkowane fabrycznie i sprzedawane w sklepach muzycznych w cenie po około 100 zł.
Przystawkę można bardzo łatwo domontować do posiadanej gitary, kierując się wskazówkami podanymi w fabrycznej instrukcji przystawki.
Samodzielne wykonanie przetwornika, aczkolwiek również możliwe, nie powinno raczej wchodzić w rachubę, jest to bowiem zadanie (zwłaszcza w odniesieniu do części mechanicznej) zbyt trudne do wykonania domowym sposobem.

Ernest Wayland
Stereo za grosze (bardzo luźne tłumaczenie)
Electronics Illustrated 1958/10
Najbardziej ekscytującą wiadomością dla słuchacza muzyki hi-fi od czasu wprowadzenia monofonicznej płyty LP jest opracowanie płyty z zapisem stereofonicznym. Dostępne teraz nagrania stereofoniczne przenoszą Cię od głośnej orkiestry dętej do wirującego w rytmie trzech czwartych walca Straussa… a stereofoniczna moda dopiero zaczyna się toczyć. Zanim to przeczytasz, pojemniki na płyty będą już pełne "dwuusznej" muzyki spełniającej wymagania najbardziej wyszukanych gustów słuchaczy.
Ale wróćmy do spraw przyziemnych. Najważniejsze pytanie brzmi – za ile? Ile kosztują płyty stereo i urządzenie do ich odtwarzania? Dobrą wiadomością jest to, że nie potrzebujesz bogactw legendarnego Midasa, aby napawać się trójwymiarowym hi-fi. Obecna cena katalogowa płyt stereofonicznych jest średnio tylko o dolara wyższa od standardowego LP.
A co ze sprzętem do odtwarzania? Jeśli podejdziesz do sprawy we właściwy sposób, to możesz się zmieścić w kwocie rzędu piętnastu dolarów!!!

Dwa kanały stereo są dostarczane osobno do każdej ze słuchawek dousznych. Dwa pokrętła widoczne w lewym dolnym rogu fotografii to opcjonalne regulatory głośności.


Zbigniew Faust
Wzmacniacz małej częstotliwości z przeciwsobnym stopniem końcowym klasy B
Książka: Konstruowanie i montaż układów radioamatorskich, Wydawnictwa Komunikacji i Łączności, Warszawa 1974, wydanie 3
Dane techniczne
Opis konstrukcji
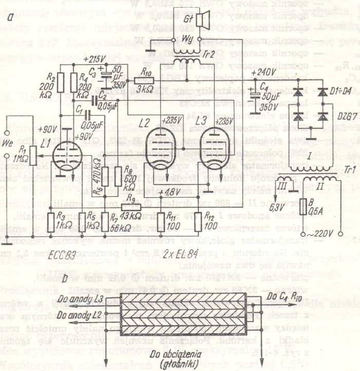
Wzmacniacz małej częstotliwości (rys. 4-11a) składa się ze stopnia odwracającego fazę (lampa L1), stopnia końcowego w układzie przeciwsobnym (lampy L2 i L3) oraz zasilacza. Wzmacniacz jest w zasadzie przeznaczony do odtwarzania zapisu gramofonowego, lecz może również stanowić blok małej częstotliwości w odbiornikach radiofonicznych. Dołączenie stopnia wzmocnienia wstępnego rozszerza zastosowanie tego układu radioamatorskiego, umożliwiając współpracę z mikrofonem, magnetofonem, gitarą elektryczną itp.
Sygnał wejściowy z potencjometru R1 regulacji siły głosu doprowadza się do siatki sterującej lewej triody lampy L1. Po wzmocnieniu, sygnał ten przechodzi przez kondensator C1 do siatki sterującej lampy L2, a także poprzez dzielnik oporowy R6, R7 do siatki prawej triody L1. Na oporniku R4 powstaje sygnał wzmocniony i przesunięty w fazie o 180o. Doprowadza się go do siatki sterującej lampy L3.
Wybrane wartości elementów stopnia odwracającego fazę zapewniają równość napięć sygnału na siatkach sterujących lamp L2 i L3 z dokładnością ok. 5%. Dzięki ujemnemu sprzężeniu zwrotnemu w obwodzie R8, C2, równość napięć zostaje zachowana nawet przy zmianie wartości znamionowych elementów układu, wynikającej z procesu starzenia się tych elementów. Drugi obwód sprzężenia zwrotnego z opornikiem R9 ma na celu zmniejszenie zniekształceń sygnału oraz wyjściowego oporu wzmacniacza. Napięcie sprzężenia zwrotnego doprowadza się z wtórnego uzwojenia transformatora Tr2 do odwodu katodowego lewej triody lampy L1.

Rys. 14-1. Wzmacniacz z przeciwsobnym stopniem końcowym klasy B
a - schemat ideowy wzmacniacza, b - sposób łączenia uzwojeń transformatora wyjściowego
Obciążeniem wzmacniacza mogą być dwa głośniki dynamiczne Gł o mocy 4÷5W, połączone szeregowo i zgodne fazowo.
Czytaj więcej: Wzmacniacz małej częstotliwości z przeciwsobnym stopniem końcowym klasy B
Strona 3 z 16