Czesław Klimczewski, "Przystawka głośnikowa"
Radioamator 1952/11
Wiele szkół, świetlic i kół radioamatorskich posiada aparaty radiowe lecz brak im wzmacniaczy, które umożliwiły by odtwarzanie audycji przez większą ilość głośników zainstalowanych w pomieszczeniach. Dla tych więc amatorów, którzy chcieliby wykorzystać dla udźwiękowienia różnych pomieszczeń, boisk itp. podany zostaje opis tzw. "przystawki" mocy wraz ze sposobem jej montażu. Przystawka taka, przyłączona w odpowiedni sposób do odbiornika radiowego, pozwoli na uzyskanie potrzebnej mocy elektrycznej dla zasilania kilku głośników o łącznej mocy około 15 lub 20 watów, zależnie od typu użytych lamp radiowych.
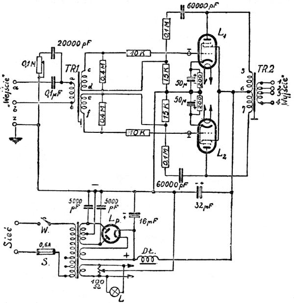
Na rys.1 przedstawiony jest schemat ideowy przystawki (wzmacniacza mocy). Widzimy na nim, że posiada ona dwie lampy pracujące w układzie przeciwsobnym tzw. "Push - pull", zasilane przy pomocy prądu zmiennego z elektrycznej sieci oświetleniowej.

Rys.1
Lampy wzmacniające przystawki otrzymują napięcia małej częstotliwości potrzebne dla wysterowania siatek lamp poprzez transformator TR.1 zwany "wejściowym". Transformator ten składa się z jednego uzwojenia pierwotnego i dwu identycznych uzwojeń wtórnych. Każde z uzwojeń wtórnych przekazuje uzyskane napięcia siatce sterującej odpowiedniej lampy. Uzwojenie pierwotne posiada końcówki połączone z gniazdkami wejściowymi wzmacniacza w ten sposób, że jedna z tych końcówek łączy się z jednym gniazdkiem ("b") bezpośrednio, druga zaś z drugim gniazdkiem ("a") nie bezpośrednio lecz poprzez kondensator stały o pojemności 0,1µF. Podczas pracy wzmacniacza gniazdka te łączy się z aparatem radiowym, a właściwie z jego gniazdkami dodatkowego głośnika znajdującymi się na tylnej ściance skrzynki lub w braku ich - z przewodami wyprowadzonymi z końcówek pierwotnego uzwojenia transformatora umocowanego przy głośniku w odbiorniku radiowym. Sposób połączenia wzmacniacza z aparatem radiowym w przypadku braku w aparacie tych gniazdek dla przyłączenia dodatkowego głośnika podany został na rys.7.
Jak już powiedziano, uzwojenia wtórne są identyczne i posiadają po dwa razy więcej zwojów niż uzwojenie pierwotne. Początek (c) jednego uzwojenia wtórnego i koniec (f) drugiego podobnego uzwojenia, połączone są poprzez oporniczki o oporach 10000 omów (10K) z nóżkami w podstawkach lampowych (s1) należącymi do siatek sterujących. Opory te przyczyniają się do prawidłowej pracy wzmacniacza przez niedopuszczenie do żadnych szkodliwych sprzężeń zakłócających lub nawet uniemożliwiających odbiór wzmacnianych audycji. Pozostałe końcówki uzwojeń wtórnych, a więc koniec (d) jednego z uzwojeń i początek (e) drugiego - połączone są poprzez oporniczki o oporach po 15000 omów (15K) z uziemioną, metalową podstawą wzmacniacza. Ta podstawa połączona jest z gniazdkiem Z, do którego wkłada się przewód uziemienia.
Do ostatnio omawianych końcówek uzwojeń, w miejscach połączenia ich z oporami 15K, przyłączone są oporniczki o oporach po 0,1 megaoma (0,1M), które z kolei łączą się z kondensatorami stałymi o pojemności elektrycznej po 60000 pikofaradów (pF). Mostek utworzony z połączonych szeregowo ze sobą oporniczka 0,1M i kondensatorka o pojemności 60000pF, który następnie końcem przyłączony jest do sprężynki w podstawce lampowej mającej styk z nóżką należącą do anody (a) w lampie - wraz z opornikiem 15K, tworzy tzw. "ujemne sprzężenie zwrotne". Dzięki temu sprzężeniu przystawka czyściej odtwarza wzmacniane audycje dając mniejsze zniekształcenia nieliniowe i częstotliwości, oraz mniej jest wrażliwa na zmiany w jej obciążeniu spowodowane różną ilością włączanych do niej głośników.
Początek i koniec każdego uzwojenia wtórnego połączone są ze sobą opornikiem o oporze 0,4M. Opory te wyrównują charakterystykę przenoszonych przez transformator częstotliwości, dzięki czemu wierność odtwarzanych przez głośniki audycji jest bardzo duża.
Ponieważ niektóre z aparatów radiowych nie posiadają regulacji tzw. "barwy tonu" przeto zastosowano ją do opisywanej przystawki. Zmianę "barwy" odtwarzanych audycji dokonuje się przez pokręcanie gałką potencjometru o oporze 0,1M włączonego w szereg z kondensatorem stałym o pojemności 20000pF między końcówkę (a) pierwotnego uzwojenia transformatora TR.1, a uziemioną, metalową podstawę wzmacniacza.
Druty montażowe łączące sprężynki w podstawkach lampowych (należące do siatek sterujących) z oporami 10K powinny być dobrze izolowane i tak ułożone podczas montażu, aby znajdowały się możliwie blisko płyty podstawy, która częściowo będzie służyła jako "ekran" chroniący je przed oddziaływaniem szkodliwych pól elektromagnetycznych powodujących zakłócenia w pracy wzmacniacza.
Nóżki w podstawkach lampowych odpowiadające katodom lamp (k) połączone są w obwodach obu lamp z podstawą wzmacniacza czyli "biegunem" ujemnym zasilania aparatu prądem - poprzez oporniczki o oporach 200 omów i kondensatory elektrolityczne o pojemności po 50µF, złączone ze sobą równolegle.
Siatki pomocnicze (s2) tych lamp połączone są bezpośrednio z przewodem "plusowym" napięcia stałego otrzymywanego z zasilacza anodowego.
Anody lamp (a) połączone są z mostkiem ujemnego sprzężenia zwrotnego (kondensator 60000pF i opór 0,1M) oraz z pierwotnym uzwojeniem transformatora wyjściowego TR.2. Z uzwojenia wtórnego tego transformatora otrzymuje się napięcia o częstotliwościach akustycznych dla zasilania różnego rodzaju głośników radiowych.
Transformator TR.2 posiada dwa identyczne uzwojenia pierwotne, oraz jedno uzwojenie wtórne mające odczepy, z których otrzymuje się napięcia o różnej wysokości. Początek jednego uzwojenia pierwotnego ("5") łączy się ze sprężynką w podstawce lampowej odpowiadającą anodzie jednej lampy, koniec drugiego uzwojenia pierwotnego ("7") połączony jest ze sprężynką w podobnej podstawce odpowiadającą anodzie drugiej lampy. Koniec pierwszego uzwojenia i początek drugiego połączone są razem i z przewodem "plusowym" napięcia z zasilacza anodowego. Uzwojenie pierwotne jest właściwie jednym uzwojeniem mającym wyprowadzony odczep ze środka (z połowy ilości zwojów) przez co tworzą się jakby dwa identyczne uzwojenia.
Przechodząc do omawiania schematu zasilacza anodowego widzimy ze schematu na rys.1, że sieć elektryczna prądu zmiennego przyłączona jest do dwu gniazdek oznaczonych "Sieć". Jedno z tych gniazdek połączone jest z pierwotnym uzwojeniem transformatora sieciowego TR.S. poprzez wyłącznik "W", drugie zaś - poprzez bezpiecznik "S" dostosowany do prądu 0,6Amp. Uzwojenie pierwotne tego transformatora posiada odczep umożliwiający zasilanie wzmacniacza prądem zmiennym o napięciu nie tylko 220V lecz i 110V. Uzwojenia wtórne pozwalają na uzyskanie dwu napięć anodowych po 360V, jednego - 4 lub 6,3V (zależnie od typu użytych lamp wzmacniających) oraz jednego - również 4 lub 6,3V (zależnie od typu stosowanej lampy prostowniczej). Napięcia anodowe uzyskuje się z uzwojenia posiadającego odczep wykonany z połowy całej ilości zwojów. Odczep ten łączy się z metalową podstawą wzmacniacza i tworzy biegun "minus" wyprostowanego napięcia anodowego. Koniec i początek tego uzwojenia połączony jest ze sprężynkami w podstawce lampowej należącymi do anod lampy prostowniczej.
Jedno z uzwojeń 4V (lub 6,3V) łączy się ze sprężynkami odpowiadającymi katodzie lampy prostowniczej i służy do żarzenia jej włókna. Z jednej końcówki tego uzwojenia uzyskujemy biegun "plus" wyprostowanego napięcia anodowego. Przewód połączony z tą końcówką doprowadzony jest do dławika małej częstotliwości "DŁ" oraz do bieguna "plus" jednego kondensatora elektrolitycznego o pojemności 16µF. Koniec uzwojenia dławika "DŁ" połączony jest z biegunem "plus" drugiego kondensatora elektrolitycznego o pojemności 32µF i z przewodem zasilającym wzmacniacz napięciem anodowym. Oba "ujemne" bieguny kondensatorów elektrolitycznych połączone są z podstawą wzmacniacza, która też posiada potencjał ujemny. Dławik "DŁ" i oba kondensatory elektrolityczne tworzą filtr wyrównujący pulsacje napięcia wyprostowanego, upodabniając ten prąd do prądu stałego otrzymanego z baterii anodowej.
Drugie uzwojenie 4V (lub 6,3V) służy do żarzenia lamp wzmacniających i połączone jest z odpowiednimi nóżkami w podstawkach lampowych tych lamp, oraz - z oprawką żaróweczki sygnalizacyjnej "L" służącej jako wskaźnik, że wzmacniacz jest włączony do sieci. W czasie, kiedy wzmacniacz nie pracuje i nie jest pod prądem - żaróweczka ta nie świeci się.
W celu uzyskania idealnie czystego (bez "przydźwięku sieci") odtwarzania wzmacnianych audycji, końcówki tego uzwojenia połączone są również z regulowanym oporniczkiem o oporze 100 omów. Ustawiając odpowiednio ślizgacz tego oporniczka można całkowicie usunąć ewentualny "przydźwięk".
Montując wzmacniacz trzeba pamiętać aby przewody doprowadzające napięcia do żarzenia lamp były dobrze izolowane i skręcone parami ze sobą. Skręcenie przewodów usunie powstawanie naokoło nich szkodliwego pola elektromagnetycznego, które może oddziaływać na bardzo czułe obwody siatek sterujących lamp wzmacniających, powodując zakłócanie otrzymywanych audycji przez silny przydźwięk prądu w postaci "buczenia".
Na rys.2 i 3 przedstawione są schematy montażowe przystawki uwidaczniające połączenia jakie trzeba wykonać oraz rozstawienie jej części składowych.

Rys.2

Rys.3
Ważną jest sprawą odpowiednie ustawienie transformatorów i dławika. Ustawienie to musi być takie, aby one na siebie nawzajem nie oddziaływały a uzyskać to można poprzez odpowiednie ich rozstawienie i prawidłowe skierowanie środkowej kolumny każdego rdzenia. Niezależnie od tego zasilacz powinien być oddzielony od części wzmacniającej przystawki ekranem z blachy żelaznej. Nie przestrzeganie podanego na rys.4 rozstawienia spowodować może w obwodach wzmacniających powstawanie sprzężeń pasożytniczych uniemożliwiających pracę przystawki.

Rys.4
Na rys.5 przedstawione są połączenia uzwojeń w transformatorach TR.1 i TR.2 w przypadku, jeżeli transformatory te nawijane będą przez radioamatora.

Rys.5
Na rys.6 pokazane są układy cokołów lampowych widoczne od spodu dla lamp serii "E" - "stalowej" oraz dla lamp typu radzieckiego lub amerykańskiego. Na rysunkach tych zaznaczono symbolicznie poszczególne elektrody, które ułatwią montaż przystawki, gdyż odpowiednie przewody uwidocznione na jej schemacie montażowym można włączać do innej podstawki zachowując oznaczenia elektrod do jakich powinny być one przyłączone.

Rys.6

Rys.7
Obecnie podane zostaną dane potrzebne dla wykonania transformatorów i dławika.
Transformator "wejściowy" TR.1 nawija się na rdzeniu składającym się z izolowanych blach żelaznych o przekroju środkowej kolumny rdzenia 6 do 7 cm2. Pierwotne uzwojenie transformatora posiada 3000 zwojów nawiniętych drutem w emalii o średnicy 0,15 ewentualnie 0,1mm. Wtórne uzwojenie posiada 12000 zwojów nawiniętych drutem o tej samej średnicy co i uzwojenie pierwotne. To wtórne uzwojenie składa się z dwóch sekcji każda po 6000 zwojów połączonych szeregowo ze sobą. Początki i końce każdej sekcji są oznaczone na rysunkach i schematach w celu łatwiejszego ich łączenia.
Transformator "wyjściowy" TR.2 nawija się na podobnym rdzeniu lecz o przekroju środkowej kolumny 10 do 11cm2. Pierwotne uzwojenie posiada 1600 zwojów nawiniętych w dwóch sekcjach po 800 zwojów w każdej, przy czym koniec jednej i początek drugiej sekcji połączone są razem i tworzą odczep wyprowadzony z połowy ogólnej ilości zwojów. Drut użyty do nawinięcia uzwojenia pierwotnego powinien posiadać średnicę 0,3 ewentualnie 0,25mm i być izolowany emalią.
Uzwojenie wtórne posiada 600 zwojów nawiniętych przewodem emaliowanym o średnicy 0,5 ewentualnie 0,4mm. Ze zwoju 300 i 400-nego wyprowadzone są na zewnątrz odczepy. Odczepy te i końcówki uzwojenia połączone są z gniazdkami oznaczonymi 1, 2, 3, 4, z których otrzymuje się potrzebne napięcia dla zasilania głośników.
Transformator sieciowy TR.S nawija się na rdzeniu o przekroju środkowej kolumny 14 do 15cm2. Pierwotne uzwojenie posiada 760 zwojów nawiniętych drutem w emalii o średnicy 0,6 do 0,5mm z odczepem na 420 zwoju. Sieć 220V przyłącza się do końcówek całego uzwojenia, zaś 110V - na jego część zawierającą 420 zwojów.
Uzwojenie wysokonapięciowe posiada cewkę nawiniętą drutem w emalii o średnicy 0,15 do 0,12mm. Ilość zwojów wynosi 2600 z odczepem ze środka uzwojenia czyli z 1300 zwoju.
Uzwojenia dla żarzenia lamp wzmacniających i prostowniczej nawinięte są również drutem emaliowanym o średnicy 1,2 do 1,0mm. W przypadku stosowania w przystawce lamp o napięciu żarzenia 6,3V ilość zwojów wynosi 20, zaś w przypadku lamp o napięciu 4V - tylko 13.
Dławik małej częstotliwości DŁ (filtrujący) nawinięty jest na rdzeniu o przekroju środkowej kolumny wynoszącym 6 do 7cm2. Ilość zwojów wynosi około 2500 nawiniętych drutem w emalii o średnicy 0,2 do 0,15mm.
Przy nawijaniu transformatora i dławika należy pamiętać, że drut powinien być układany równo i dość ściśle tak, aby zwoje leżały obok siebie i nie krzyżowały się, gdyż wówczas może nastąpić zdrapanie emalii i zwarcie się zwojów, a co zatem idzie uszkodzenie transformatora (lub dławika). Poszczególne warstwy uzwojenia powinny być izolowane cienkim papierem, poszczególne zaś uzwojenia między sobą - preszpanem o odpowiedniej grubości (np. dwie warstwy po 0,2mm grubości).
- Lampy:
- Seria 4 woltowa:
- wzmacniające - AL5, AL%/375,
- prostownicza - AZ4.
- seria 6,3 woltowa:
- wzmacniające - EL5, EL12, 6L6, 6P3,
- prostownicze - 5Z4, 5Y3 (dla żarzenia tych lamp odpowiednie uzwojenia transformatora sieciowego powinno posiadać nie 13 lecz 20 zwojów).
- Żaróweczka sygnalizacyjna - 6,3V/0,04A.
POZOSTAŁE CZĘŚCI SKŁADOWE
- Podstawa przystawki wykonana z blachy żelaznej lub cynkowej o grubości 1mm. Wymiary: 30cmx18cmx8cm. Podstawa ta powinna posiadać spód zamykany blachą o tej samej grubości oraz przegrodę wewnątrz i ściankę ("ekran") z wierzchu wg rys.4. Pożądane jest również aby przystawka posiadała pokrywę o takiej wysokości, żeby swobodnie mogły pod nią mieścić się lampy. Pokrywa ta powinna być dziurkowana dla odprowadzania ciepła jakie wydziela się podczas pracy przystawki.
- 3 podstawki lampowe dla lamp odpowiedniej "serii".
- 9 gniazdek.
- Bakielitowa płytka o grubości 2mm dla przymocowania gniazdek. (Przy montażu należy uważać aby przykręcone na płytkach gniazdka nie stykały się z metalową podstawą, gdyż nastąpi wówczas zwarcie ich między sobą i do ziemi, przez co wzmacniacz nie będzie pracować).
- 1 oprawka do żaróweczki sygnalizacyjnej.
- 1 wyłącznik sieciowy, błyskawiczny.
- 1 oprawka do bezpiecznika.
- 1 bezpiecznik rurkowy na 0,6A.
- 2 kondensatory stałe 5000pF/3000V.
- 1 kondensator stały 20000pF/1500V.
- 2 kondensatory stałe po 60000pF/1500V.
- 1 kondensator stały 0,1µF/750/1500V.
- 1 kondensator elektrolityczny 16µF/550V.
- 1 kondensator elektrolityczny 32µF/550V.
- 2 kondensatory elektrolityczne, "katodowe" - po 50µF/35÷25V.
- 2 opory po 10K/1W.
- 2 opory po 15K/1W.
- 2 opory po 0,1M/1W.
- 2 opory po 0,4M/1÷2W.
- 1 potencjometr logarytmiczny o oporze 0,1M.
- 1 "entbrummerek" o oporze 100omów.
- Drut montażowy w igielicie lub gumie o średnicy nie mniejszej niż 0,8mm.
- Drobne części montażowe jak cyna, kalafonia, śrubki, nakrętki itp.