Przystawka głośnikowa "3L"
inż. Czesław Klimczewski
Radioamator, Rok III, Styczeń 1953r., Nr 1
W numerze 11 naszego pisma opisana została przystawka głośnikowa posiadająca dwie lampy pracujące w układzie przeciwsobnym przy zastosowaniu transformatora sterującego te lampy. Ponieważ nie zawsze transformator taki można nabyć na rynku, nawinięcie zaś jego przedstawia pewną trudność - podany zostaje obecnie opis przystawki, w której funkcję tzw. "odwrócenia fazy" dokonuje się nie przez transformator lecz za pośrednictwem lampy radiowej. Przystawka tak nie posiada również dławika małej częstotliwości dla filtracji wyprostowanego prądu pulsującego lecz opornik o oporze 3000omów i wytrzymałości na obciążenie około 5watów. Opornik taki łatwo jest nabyć ewentualnie nawinąć własnoręcznie na porcelanowej lub szklanej rurce.
Dzięki niestosowaniu transformatora i dławika, koszt opisywanej przystawki jest stosunkowo niski i montaż jej łatwiejszy. Przystawka ta wykonana ściśle wg podanych schematów będzie pracować doskonale i może zasilać jeden lub kilka głośników o łącznej mocy około 25watów.
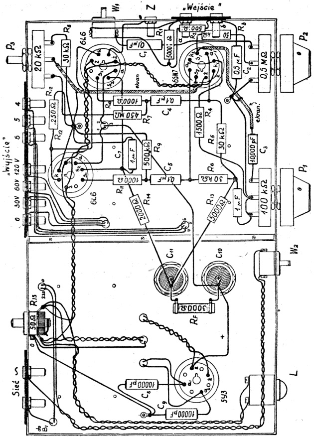
Na rys. 1 przedstawiony jest schemat ideowy przystawki. Przystawka ta przystosowana jest do pracy z odbiornikiem radiowym posiadającym gniazdka do przyłączenia dodatkowego głośnika. Gniazdka te należy łączyć z przystawką w ten sposób, że jedno z nich, oznaczone znakiem "plus", powinno być połączone z gniazdkiem przystawki oznaczonym znakiem "b". Jeżeli żadnego oznaczenia na desce odbiornika nie ma, wówczas gniazdka dodatkowego głośnika połączone są w nim w ten sposób, że przystawkę można przyłączyć dowolnie nie zwracając uwagi na zgodność połączeń. Przystawkę tę można łączyć również ze wzmacniaczem małej częstotliwości tzw. "przedwzmacniaczem" celem uzyskania większej mocy dla zasilania głośników. W tym celu w opisywanej przystawce zastosowano wyłącznik W1 wyłączający opór R1=5000omów tak, że można ją przyłączyć do aparatu lub wzmacniacza posiadającego opór "wyjściowy" mały - rzędu 500omów lub duży - rzędu 5000÷6000omów. Aparaty radiowe posiadają opór wyjściowy dodatkowego głośnika przeważnie duży - rzędu 6000omów.

Rys. 1.
Napięcia otrzymywane ze ślizgacza potencjometru P1 przesyłane są na siatkę sterującą pierwszej triody lampy (6SN7) poprzez oporniczek Rs=50000 omów (50K) będący zaworem dla mogących ewentualnie powstawać prądów pasożytniczych. Siatka ta połączona jest również z kondensatorem 10.000pF, który poprzez potencjometr P2=100K łączy się z uziemioną podstawą przystawki ("masą"). Potencjometrem tym reguluje się "barwę dźwięku" wzmacnianych audycji.
Po przejściu przez pierwszą triodę lampy 6SN7, napięcia uzyskiwane z anody i powstałe na oporze R5=30K kierowane są przez kondensator stały C4=0,1µF do siatki sterującej pierwszej lampy układu przeciwsobnego. Opór upływowy tej lampy (6L6) włączony między tę siatkę i masę przystawki wynosi 500K (0,5M) i składa się z trzech oporników: oporniczka stałego 450K, potencjometru P3=20K i oporniczka stałego 30K. Ślizgacz tego potencjometru (P3) połączony jest z siatką sterującą drugiej triody omawianej lampy 6SN7. Dzięki zastosowaniu potencjometru P3 można dobrać napięcia sterujące o takiej wielkości, że będą one równe napięciom sterującym uzyskiwanym z obwodu wejściowego i przyłożonym do siatki pierwszej triody w lampie 6SN7. Uzyskiwane z anody drugiej triody napięcia wytworzone na oporze R6=30K przesyłane są poprzez kondensator C5=0,1µF siatce sterującej drugiej lampy układu przeciwsobnego. Napięcia te są identyczne pod względem częstotliwości i wysokości z napięciami otrzymywanymi z pierwszej triody lampy, posiadają tylko odwrotną w stosunku do nich "fazę" (są w stosunku do nich odwrócone), a więc są jakby odbiciem lustrzanym co potrzebne jest dla pracy układu przeciwsobnego. Opór upływowy przyłączony do siatki drugiej lampy 6L6 posiada wartość również 500komów lecz jest pojedynczy. W ten sposób obie lampy układu przeciwsobnego otrzymują identyczne napięcia sterujące lecz przesunięte o 180 stopni w fazie, co pozwala na prawidłową ich pracę i uzyskiwanie nie zniekształconych, o pełnej mocy wzmacnianych audycji. Te napięcia sterujące otrzymywane z pierwszej lampy (podwójnej triody np. typu 6SN7) są większe niż dostarczone do przystawki przez obwód wejściowy, gdyż lampa również je wzmacnia (w przypadku zastosowania lampy 6SN7 wzmocnienie jest około 13-krotne).
Po przejściu przez lampy układu przeciwsobnego prądy uzyskiwane w obwodzie ich anod kierowane są do pierwotnego uzwojenia transformatora "wyjściowego". Z uzwojenia wtórnego tego transformatora uzyskuje się napięcia dla sterowania głośników. Dzięki wykonanym odczepom można zasilać jeden lub kilkanaście małych głośników przyłączając je odpowiednio do uzwojenia.
Zasilacz przystawki przystosowany jest do prądu zmiennego otrzymywanego z elektrycznej sieci o napięciu 220V lub 110V. Zasilacz ten składa się z prostownika o prostowaniu "dwupołówkowym" i filtru wygładzającego pulsujące napięcie wyprostowane. Napięcie sieci przyłączone jest do pierwotnego uzwojenia transformatora zasilacza poprzez bezpiecznik B1 - 0,3 ampera i wyłącznik W2. Z uzwojeń wtórnych uzyskiwane jest napięcie dla żarzenia lampy prostowniczej i lamp wzmacniających oraz napięcia dla zasilania anod lampy prostowniczej. Wysokość napięcia żarzenia zależy od typów lamp użytych we wzmacniaczu; napięcia dla anod lampy prostowniczej powinny mieć wysokość 350-360V licząc na każdą z nich.
W uzwojeniu anodowym transformatora sieciowego znajduje się drugi bezpiecznik B2-0,3 amperowy zabezpieczający transformator przed ewentualnym zwarciem. Skrajne końcówki tego uzwojenia połączone są również kondensatorami stałymi C8 i C9 o pojemności po 10000pF z uziemioną masą przystawki celem niedopuszczenia do obwodów wzmacniających zakłóceń przemysłowych powstających w sieci.

Rys. 2.
Lampa prostownicza (5Y3) zamienia zmienne napięcie sieci otrzymywane poprzez transformator na napięcie pulsujące, jednokierunkowe. Filtr znajdujący się za częścią prostowniczą zasilacza, składający się z opornika Rf=3000omów i dwu kondensatorów C10 i C11 po 32µF każdy - wygładza napięcie pulsujące upodabniając je do napięcia stałego, którym już można zasilać anody i siatki pomocnicze lamp przystawki.
Anody triody otrzymują napięcia stałe z zasilacza poprzez opornik R15=5000omów zablokowany do masy kondensatorem stałym C1=1miF. Opornik ten i kondensator stanowią dodatkowy filtr wygładzający w większym jeszcze stopniu wyprostowane napięcie oraz uzyskuje się potrzebny spadek napięcia dla otrzymania napięcia o takiej wysokości jakiego wymagają anody pierwszej lampy (6SN7). Podobnie i siatki pomocnicze lamp układu przeciwsobnego ("s2") zasilane są poprzez opornik R14=2000omów zablokowany do masy kondensatorem C7 o pojemności 1µF. Oba wymienione opory włączone są do zasilacza po oporniku Rf znajdującym się we filtrze wskutek czego otrzymywane napięcia są wyjątkowo dobrze wygładzone. Anody lamp układu przeciwsobnego otrzymują napięcia bezpośrednio z zasilacza (przed filtrem), gdyż dzięki właściwościom tego układu prądy płynące przez obie połówki transformatora głośnikowego wytwarzają strumienie magnetyczne w jego rdzeniu skierowane przeciw sobie w wyniku czego pulsacje znoszą się wzajemnie i nie zostają odtwarzane przez głośnik, a więc nie zakłócają audycji.
Warto również zwrócić uwagę Czytelnika na oporniki w katodach lamp, które nie są zablokowane do masy kondensatorami tworząc w ten sposób w obwodach wzmacniających pewnego rodzaju sprzężenie zwrotne dzięki któremu wzrasta wierność audycji odtwarzanych przez głośniki.
Podobnie oporniczki R10 i R11 o oporach 1000omów włączone w przewodach doprowadzonych do siatek sterujących lamp układu przeciwsobnego mają za zadanie niedopuszczenie do sprzężeń pasożytniczych wskutek czego przystawka pracuje prawidłowo i odtwarzane audycje nie są zakłócane różnymi pobocznymi szumami, gwizdami itp.
Tyle w skrócie co do opisu działania i schematu przystawki, obecnie zostanie omówiony sposób jej montażu.
Montaż
Montaż przystawki rozpoczyna się od zamocowania na podstawie transformatorów, gniazdek lampowych, kondensatorów elektrolitycznych, wyłączników, potencjometrów, oprawki dla lampki sygnalizacyjnej, oprawek dla bezpieczników rurkowych, śrubek z podkładkami dla przymocowywania do nich przewodów, które mają wg schematu byś zmienione oraz gniazdek dla "wejścia", "wyjścia" i sieciowych. gniazdka te powinny być przymocowane do odpowiednich płytek wykonanych z bakelitu (ewent. z grubego i twardego preszpanu) a te dopiero powinny być umocowane na podstawie przystawki lecz w taki sposób, aby żadne z nich nie dotykało metalu podstawy gdyż to spowoduje, że przystawka nie będzie działać lub nawet ulegnie uszkodzeniu po włączeniu do sieci prądu elektrycznego.
Należy jednak zwrócić uwagę na fakt, że jedno z gniazdek oznaczone literą "Z" przymocowane jest do podstawy bezpośrednio, bez podkładki preszpanowej (lub bakelitowej). Służy ono do połączenia podstawy przystawki z uziemieniem (patrz rys. 1).

Rys. 3.
Umocowane części montażowe na podstawie przystawki powinny być tak ustawione i rozplanowane jak to przedstawiają schematy montażowe na rys. 2 i 3.
Montaż przeprowadza się przewodami z izolacji gumowej lub igielitowej przy czym średnica tych przewodów (drutów) nie powinna być mniejsza niż 1÷0,8mm. Końce przewodów łączących powinny być starannie oczyszczone z izolacji a miejsca złączeń lutowane lub mocno dociskane śrubami. Lutować należy cyną przy użyciu kalafonii (może być ona rozpuszczona w czystym spirytusie). Tak zwanego "kwasu" do lutowania połączeń radiowych stosować nie wolno, gdyż z czasem tworzy on osad, który nadżera miejsca złączeń psując kontakt elektryczny i powoduje wadliwą pracę wzmacniacza lub uniemożliwia ją całkowicie.
Montaż zaczyna się od zasilacza. Jedno z gniazdek sieciowych przystawki łączy się poprzez wyłącznik W2 z początkiem uzwojenia pierwotnego na transformatorze sieciowym, drugie zaś gniazdko sieciowe - poprzez bezpiecznik B łączy się z odpowiednim końcem tego samego uzwojenia (końcówka na 220V lub 110V - zależnie od napięcia sieci).
Następnie końcówki wtórnego uzwojenia przeznaczone dla żarzenia lampy prostowniczej łączy się z odpowiednimi sprężynkami (oznaczonymi literami "ż") w podstawce lampowej tej lampy. Podobnie łączy się przewodami sprężynki w podstawkach odpowiadające włóknom lamp wzmacniających i oprawkę żarówki sygnalizacyjnej - z końcówkami drugiego uzwojenia żarzenia przeznaczonego dla lamp przystawki. Sprężynki te są na schematach również oznaczone literami "ż". Połączenia te wykonać należy w ten sposób aby włókna wszystkich lamp przyłączone były do uzwojenia transformatora "równolegle", przy czym przewody łączeniowe powinny być skręcone ze sobą tak, jak to pokazane jest na schematach montażowych. Skręcenie tych przewodów uchroni od oddziaływania wytwarzanego przez nich pola zakłócającego na bardzo czułe obwody siatek sterujących przystawki, co mogłoby być przyczyną powstawania buczenia słyszalnego z głośników i szkodliwych sprzężeń dla normalnej pracy przystawki.
Końce uzwojenia dla żarzenia lamp wzmacniających powinny być połączone nie tylko z podstawkami lamp lecz również i z regulowanym oporniczkiem R15 (tzw. "entbrummerkiem"), który po uruchomieniu przystawki wyreguluje się jednorazowo tak, aby ewentualny przydźwięk słyszalny z głośników - znikł i audycje były czysto odtwarzane. Po wyregulowaniu przystawki oporniczka tego już więcej nie potrzeba się dotykać. Przewody żarzeniowe przyłącza się do skrajnych kontaktów oporniczka, środkowy zaś jego kontakt (połączony ze ślizgaczem) uziemia się przez przyłączenie do śruby na metalowej podstawie przystawki.
Skrajne końcówki uzwojenia anodowego w transformatorze sieciowym łączy się ze sprężynkami odpowiadającymi anodom (a1, a2) lampy prostowniczej oraz z jednymi z końcówek kondensatorów stałych c8 i C9 o pojemności 10000pF. Środek tego uzwojenia przyłącza się poprzez bezpiecznik B2 do podstawy przystawki. Do tej podstawy łączy się również pozostałe końce kondensatorów C8 i C9.
Biegun ujemny wyprostowanego napięcia znajduje się w ten sposób na metalowej podstawie przystawki (masie), dodatni zaś - na przewodzie przyłączonym do jednej ze sprężynek włókna żarzenia w podstawce lampy prostowniczej.
Z kolei przewód będący dodatnim biegunem napięcia wyprostowanego łączy się z opornikiem Rf filtru wygładzającego to napięcie oraz z dodatnim biegunem kondensatora elektrolitycznego. C10 o pojemności 32µF i ze środkiem pierwotnego uzwojenia transformatora głośnikowego poprzez który zasila się anody lamp układu przeciwsobnego. Koniec opornika Rf łączy się z dodatnim biegunem drugiego kondensatora elektrolitycznego C11 również o pojemności 32µF oraz z jednym końcem oporniczka R14=2000omów, poprzez który zasila się siatki pomocnicze (s2) lamp układu przeciwsobnego i - z jednym końcem opornika R13)5000omów, poprzez który anody (a1, a2) pierwszej lampy triody otrzymują napięcia. Bieguny ujemne kondensatorów elektrolitycznych (znajdujące się najczęściej na metalowej obudowie kondensatora) łączy się do masy.
Następnie rozpoczyna się montaż części wzmacniającej. Gniazdko wejściowe oznaczone literą "a" łączy się z jednym końcem opornika R1=5000omów i jednym zaciskiem wyłącznika W1. Drugi koniec tego oporu i drugi kontakt wyłącznika łączy się z jedną końcówką kondensatora C1 o pojemności 0,1µF i jednym końcem oporu R2=500omów. Druga końcówka kondensatora C1 połączona zostaje z jedną ze skrajnych sprężynek potencjometru P1=0,5M. Druga skrajna końcówka tego potencjometru łączy się z masą przystawki i jedną końcówką kondensatora C2=0,5µF. Druga końcówka tego kondensatora łączy się z drugą, pozostałą końcówką opornika R2=500omów i drugim gniazdkiem wejściowym przystawki ("b").
Środkowa sprężynka potencjometru P1 połączona z jego ślizgaczem, przyłączona zostaje przez oporniczek R3=50K ze sprężynką w podstawce lampowej pierwszej triody lampy 6SN7, należącą do siatki sterującej (s1) tej lampy. Sprężynka ta połączona zostaje również i z kondensatorem C3=10000pF, który łączy się z jedną skrajną sprężynką potencjometru P2=100K. Druga skrajna sprężynka tego potencjometru połączona być musi z jego sprężynką środkową i z masą przystawki. Sprężynki w podstawce należące do katod (k1 i k2) tej lampy połączyć należy razem i poprzez oporniczek R=1500omów również z masą przystawki.
Następnie anody (a1 i a2) omawianej lampy łączy się z jednymi końcami oporników R5=R6=30K. Drugie końce tych oporników łączy się razem i z drugim, pozostałym końcem opornika R13=50000omów, a także z jednym końcem kondensatora C6=1µF. Drugi koniec tego kondensatora uziemia się przez połączenie z masą przystawki.
Pozostaje jeszcze połączenie jakie należy wykonać dla włączenia do pracy siatki sterującej (s2) DRUGIEJ TRIODY pierwszej lampy.
Aby to wykonać łączy się sprężynki należące do anody pierwszej triody (a1) z jednym końcem kondensatora stałego C4=0,1µF. Drugi koniec tego kondensatora łączy się poprzez opornik lampy układu przeciwsobnego oraz z jednym końcem opornika R7=450K. Opornik ten z kolei łączy się z jedną ze skrajnych sprężynek potencjometru P3=20K. Druga skrajna sprężynka tego potencjometru połączona zostaje z jednym końcem opornika R8=30K. Drugi jego koniec łączy się z masą przystawki, z jednym końcem opornika R12=250omów oraz z jednym końcem opornika R9=500K (0,5M). Drugi koniec opornika R9=500K łączy się z opornikiem R11=1000omów (poprzez który są kierowane napięcia sterujące dla wspomnianej lampy z obwodu anodowego drugiej triody (a2) lampy 6SN7.
Sprężynka środkowa potencjometru P3=20K połączona zostaje następnie z siatką sterującą (s2) drugiej triody pierwszej lampy przystawki.
Drugi koniec kondensatora C5=0,1miF łączy się z anodą drugiej triody (a2) i z końcem opornika R6=30K z nią już połączonego. Nie połączony dotychczas koniec opornika R12=250omów łączy się z obydwoma katodami (k) lamp układu przeciwsobnego. Opornik R14=2000omów, przez który siatki pomocnicze lamp układu przeciwsobnego otrzymują napięcia, łączy się od strony tych siatek z masą przystawki poprzez kondensator stały C7=1µF. Następnie obie anody tych lamp łączy się odpowiednio z dwu skrajnymi końcówkami uzwojenia pierwotnego na transformatorze głośnikowym, a końcówki uzwojeń wtórnych tego transformatora - z odpowiednimi gniazdkami wyjściowymi przystawki.
Na powyższym zostaje zakończony montaż przystawki.

Rys. 4
Podstawę aparatu należy wykonać z cynkowanej blachy żelaznej lub z blachy cynkowej o grubości 1mm - według wymiarów podanych na rys. 4 i rysunkach montażowych 2 i 3.
Transformatory można nabyć na rynku lub wykonać samodzielnie. Do wykonania transformatora sieciowego TR.S należy użyć rdzenia złożonego z blaszek żelaznych, izolowanych z jednej strony lakierem lub szelakiem, o przekroju środkowej kolumny około 15cm2. Uzwojenie pierwotne nawinięte powinno być drutem w emalii o średnicy 0,6 lub 0,5mm i posiadać zwojów 760 z odczepem od 420 zwoju. Sieć elektryczną o napięciu 220V przyłącza się do końców uzwojenia zaś 110V - do części jego składającej się z 420 zwojów.
Uzwojenie wtórne wysokonapięciowe nawinięte powinno być drutem w emalii o średnicy 0,15 lub 0,12mm. Posiadać ono musi 2600 zwojów z odczepem od środka uzwojenia czyli z 1300 zwoju.
Uzwojenie żarzenia lampy prostowniczej nawija się drutem emaliowanym o średnicy 1,2 lub 1,0mm. Posiadać ono powinno w przypadku żarzenia lamp typów 5Y3, 5Z4 lub 5U4 - 16 zwojów, zaś w przypadku żarzenia lampy AZ12 - 13 zwojów.
Uzwojenie żarzenia lamp wzmacniających powinno być nawinięte tym samym drutem o ilości zwojów równej 20 w przypadku stosowania lamp serii 6,3V.
Transformator głośnikowy TR.G. (wyjściowy) powinien posiadać rdzeń z podobnie wykonanych blaszek jak transformator poprzedni z tym, że przekrój środkowej kolumny wynosić będzie około 12cm2.
Uzwojenie pierwotne tego transformatora składa się z dwóch sekcji o jednakowej ilości zwojów; sekcje te znajdują się obok siebie tworząc dwa identyczne pod względem elektrycznym uzwojenia. Łączna ilość zwojów wynosi 1800 (dwie sekcje po 900 zwojów każda) nawiniętych drutem 0,3 lub 0,2 w emalii. Ze środka tego uzwojenia, a więc z miejsca połączeń obu sekcji ze sobą, wyprowadzony jest odczep.
Pierwsze uzwojenie wtórne nawinięte równomiernie na obu sekcjach pierwotnych posiada 130 zwojów nawiniętych drutem w emalii o średnicy 0,8mm, następnie dalej 130 zwojów nawiniętych podobnym drutem lecz o średnicy około 0,5mm, oraz 260 zwojów nawiniętych drutem również w emalii o średnicy 0,3mm. Każde z podanych części uzwojenia posiada odczep wyprowadzony na zewnątrz. Całkowita ilość zwojów tego uzwojenia wynosi więc 520 (130+130+260). Na końcach pierwszej części uzwojenia uzyskuje się napięcie o częstotliwościach akustycznych w wysokości około 30V; między pierwszą końcówką (początkiem) uzwojenia i drugim odczepem - 60V; między tym samym początkiem uzwojenia i końcem uzwojenia - 120V.
Drugie uzwojenie wtórne nawinięte na pierwszym uzwojeniu wtórnym posiada 85 zwojów z odczepami na 26 i 42 zwoju. Drut użyty do nawinięcia tego uzwojenia posiadać powinien średnicę około 0,15mm. Uzwojenie to służy do zasilania głośników dynamicznych.
Zwraca się uwagę, że wykonując opisane transformatory należy zachować we wszystkich uzwojeniach te same kierunki nawijania zwojów.
Na zakończenie podane zostają na rys.5 rysunki cokołów lampowych z oznaczeniami przy nóżkach.

Rys.5.
Cokoły te odpowiadają podstawkom lampowym widocznym od spodu. Stosując inne niż podano w opisie lampy radiowe należy przewody łączyć z tymi nóżkami w podstawkach, które odpowiadają tym samym oznaczeniom w podstawkach lampowych zastosowanych w opracowanych schematach ideowym i montażowych. Przy stosowaniu lampy typu EL12 należy opór R12=250omów zamienić na około 90omów.
Spis części montażowych
- Opory:
R1=5000/1 wat obciążenia; R2=500/1wat; R3=50K/1W; R4=1500/2W; R5=R6=30K/1W; R7=450K/1W; R8=30K/1W; R9=500K/1W; R10=R11=1000/1W; R12=250/4÷5W (przy lampach typu EL12-90/4÷5W); R13=5000/2W; R14=2000/2W; R15=50 (regulowany - entbrummerek); Rf=3000/5W - drutowy. - Potencjometry:
P1=0,5M/logarytmiczny; P2=100K/logarytmiczny; P3=20K/logarytmiczny lub liniowy. - Kondensatory:
C1=0,1µF/1500V; C2=0,5µF/1500V; C3=10000pF/1500V; C4=C5=0,1µF/1500V; C6=C7=1µF/750V (minimum); C8=C9=10000pF/3000V; C10=C11=32µF/550V - elektrolityczne (w ostateczności mogą być po 16µF/550V). - Bezpieczniki:
B1=B2=0,3A - rurkowe, szklane. - Wyłączniki:
W1=W2 - sieciowe, dwubiegunowe, błyskawiczne. - Transformatory:
TR.S. - sieciowy. Pierwotne uzwojenie na 220 i 110V, wtórne - 6.3V/5A (lampy wzmacniające); 5V (lub 4V przy lampie AZ12)/1A (lampa prostownicza); 350-360V/150mA - anodowe.
TR.G. - wyjściowy. Pierwotne uzwojenie przystosowane do dwóch lamp 6L6 (pracujących w układzie przeciwsobnym), wtórne - przystosowane do napięć 30V, 60V, 120V oraz do napięć niskowoltowych. - Lampy:
6SN7 lub 6N7, 6H8, 6H8C, 6H7 - szt. 1, 6L6 lub 66, 63, EL12/375, EL12/spec., EL12 - szt. 2, 5Y3 lub 5Z4, 5C4, AZ12 - szt. 1. - Oprawki do bezpieczników rurkowych - szt. 2.
- Oprawka do żaróweczki sygnalizacyjnej - szt. 1.
- Żaróweczka sygnalizacyjna 6,3V/0,3A - szt. 1.
- Podstawki lampowe do lamp (odpowiednich typów) - razem szt. 3.
- Gniazdka do wtyczek "bananowych" - szt. 12.
- Płytki bakelitowe o grubości 2mm - o odpowiednich wymiarach.
- Gałki do potencjometrów - szt. 2.
- Drut do połączeń, cyna, kalafonia, śrubki, muterki itp. materiał montażowy.
Cz. Klimczewski