
Radioamator i Krótkofalowiec polski, Rok 14, Maj 1964 rok, Numer 5.
mgr Zdzisław Krzystek.
Aparatura składa się z gramofonu "Ziphona", szerokopasmowego wzmacniacza o mocy 2x4W oraz dwóch zestawów głośnikowych w zamkniętych obudowach z otworem. Zapewnia ona wystarczającą głośność reprodukcji muzyki w pokoju mieszkalnym.
WZMACNIACZ
Schemat ideowy wzmacniacza przedstawiony jest na rysunku 1.

Rysunek 1. Schemat ideowy wzmacniacza.
Na wejściu znajduje się zwierak "Mono-Stereo", który należy zamknąć przy reprodukcji nagrań z płyt monofonicznych. Zmniejsza to nieco zakłócenia z gramofonu, gdyż przetwornik jest wtedy niewrażliwy na drgania wgłębne igły (na fotogramach tego wyłącznika nie ma).

Potencjometry logarytmiczne R2 i R'2 są oddzielnymi regulatorami wzmocnienia lewego i prawego toru. Oporność ich - jak tego wymaga przetwornik KSS0160 - wynosi 1MΩ. Boczniki C1R1 nie są konieczne; są to korektory fizjologiczne słuchu, które przeciwdziałają subiektywnemu zanikaniu niskich tonów przy ściszaniu reprodukcji.
Lampa V1 (V2) podwójna trioda pracuje w układzie dwustopniowego wzmacniacza wstępnego z 15-krotnym ujemnym sprzężeniem zwrotnym. Przez odpowiedni dobór pojemności kondensatorów C2, C3, C4 uzyskuje się ostre obcięcie drgań o częstotliwości poniżej zakresu odtwarzania (21dB/oktawę poniżej 35Hz). Drgania takie powstają w układzie napędowym gramofonu. Odcięcie to zmniejsza także możliwość sprzężenia akustycznego między głośnikami a gramofonem. Sprzężenie zwrotne zapewnia małą (dynamiczną) pojemność wejściową (konieczną ze względu na dużą oporność potencjometrów), małą oporność wyjściową (potrzebną do prawidłowego działania regulatorów barwy) i znikomo mały współczynnik chrypienia wzmacniacza wstępnego (wynoszący przy pełnym wysterowaniu 0.02%). Wzmocnienie napięciowe jest 100-krotne.
Mechaniczne sprzężone potencjometry R10 i R'10 służą do regulacji natężenia tonów poniżej 800Hz, a sprzężone potencjometry R13 i R'13 - do regulacji natężenia tonów powyżej 2000Hz. Potencjometry te są liniowe, dzięki czemu łatwo jest dobrać egzemplarze o dostatecznej współbieżności, a ponadto przy konstrukcji pokazanej na rysunku 2 obracają się one przeciwnie.

Rysunek 2. Mechaniczne sprzężenie potencjometrów regulujących barwę dźwięku.
Stopień trzeci (wzmacniacz napięcia) i transformator wyjściowy objęte są 10-ktornym, niezależnym od częstotliwości ujemnym sprzężeniem zwrotnym. Kondensator C10 (C'10) koryguje amplitudę i fazę zmienioną przez indukcyjność poprzeczną transformatora wyjściowego. Korekcja taka przeciwdziała powstawaniu drgań podakustycznych przy silnych sprzężeniach zwrotnych i dodatkowo zmniejsza czułość wzmacniacza poniżej zakresu promieniowania układu głośnikowego. Współczynnik chrypienia przy mocy 3W nie przekracza 1%, współczynnik tłumienia (stosunek oporności roboczej do wyjściowej) przekracza 10.
Na schemacie wzmacniacza zaznaczono wyraźnie punkty wspólnych uziemień. Sprawa wyboru uziemień jest zwykle niedoceniana, a ma zasadnicze znaczenie w powstawaniu napięć zakłócających (przydźwięków).
Przy połączeniach źródła i odbiornika o dużych impedancjach w zakresie większych częstotliwości akustycznych należy unikać stosowania przewodów ekranowanych, aby nie pogorszyć odtwarzania wysokich tonów. Przy prawidłowym rozplanowaniu przestrzennym jest to zwykle możliwe. W opisanym wzmacniaczu jedynym przewodem ekranowanym jest doprowadzenie obwodu sieci do wyłącznika umieszczonego na przedniej ściance.
TRANSFORMATORY WYJŚCIOWE
Wymagania: transformacja oporności z 7kΩ na 15Ω, składowa stała prądu 40mA, indukcyjność poprzeczna 22H, indukcyjność podłużna maksymalnie 75mH (czyli zakres przenoszenia 50Hz - 15kHz). Można zastosować transformator Tonsil TW 6-312 z odpowiednio ustawioną szczeliną lub nawinięty na tymże rdzeniu (EI 84/28 pole przekroju rdzenia 7.8cm2 brutto) w sposób następujący: uzwojenie pierwotne w dwóch szeregowo połączonych sekcjach po 1460 zwojów 0.17mm, przeplecione z uzwojeniem wtórnym złożonym z trzech szeregowo połączonych sekcji po 48 zwojów 0.65mm. Grubość papieru w szczelinie należy tak dobrać, aby przy napięciu zmiennym 220V (50Hz) doprowadzonym do pierwotnego uzwojenia płynął przez transformator prąd 30-33mA. Transformatory wyjściowe należy tak ustawić na podstawie wzmacniacza, aby szczeliny znajdowały się po stronie oddalonej od transformatora sieciowego - jak to widać na fotografii.

TRANSFORMATOR SIECIOWY
Zasilacz sieciowy ma dostarczyć: 92mA prądu stałego przy napięciu 320V oraz 2.5A prądu zmiennego przy napięciu 6.3V. Przyjmując amplitudę indukcji magnetycznej w rdzeniu 10kGs, gęstość prądu w uzwojeniach 2.5A/mm2 i pole przekroju rdzenia 12cm2 brutto, należy nawinąć: sekcję sieciową (220V) - 888 zwojów, 0.45mm; sekcję prostownika 1330+1330 zwojów, 0.23mm; sekcję żarzenia 26 zwojów, 1.3mm z odczepem w środku.
Przy zastosowaniu innego rdzenia należy zmienić liczby zwojów odwrotnie proporcjonalnie do pól przekroju rdzeni. Napięcie żarzenia jest wielkością krytyczną. Jeżeli liczba zwojów wypadnie nie całkowita, należy ją zaokrąglić w górę, a pozostałe uzwojenia przeliczyć w stosunku uzwojeń żarzenia.
UWAGI PRAKTYCZNE
Przed rozpoczęciem montażu wskazane jest sprawdzić pomiarami wszystkie elementy. Przed pierwszym włączeniem do sieci należy: wstawić właściwy bezpiecznik, zewrzeć wyjścia, regulatory nastawić na minimum, sprawdzić omomierzem izolację między katodą lampy prostowniczej a masą oraz przewodność między tą katodą a anodami lamp końcowych. Po włączeniu sprawdzamy, czy lampy końcowe nie są przeciążone; napięcia na katodach mają wynosić 6.6V. Napięcie zasilania (320V) można skorygować opornikiem R23, prądy lamp końcowych (40mA) opornikiem R22. Pomiar należy wykonać po kilkuminutowym nagrzaniu lamp i przy nominalnym napięciu sieci.
ZESTAWY GŁOŚNIKOWE
Każdy zestaw zawiera dwa głośniki wytwórni Tonsil nisko-średniotonowy GD 31-21/5 o impedancji 15Ω przy częstotliwości 1000Hz i o częstotliwości rezonansowej 40Hz, oraz wysokotonowy GDW 12.5/1.5 o impedancji 8Ω przy częstotliwości 3000Hz. Schemat połączeń głośników pokazany jest na rysunku 3.

Rysunek 3. Połączenie głośników w jednym zestawie.
Należy oznaczyć polaryzację głośników w następujący sposób. Przykładamy płaską baterię tak, aby membrana wychyliła się w przód. Końcówkę głośnika połączoną z dodatnim biegunem baterii oznacza się zwykle czerwoną plamką. Przy zamkniętym wyłączniku M-S membrany mają drgać synfazowo.
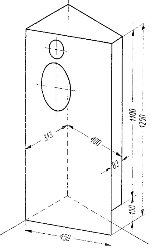
Rysunek 4 przedstawia najprostszą konstrukcję obudowy zamkniętej z otworem. Należy wykonać dwie lustrzanie symetryczne obudowy i ustawić w dwóch narożach pokoju.

Rysunek 4. Obudowa lewego zestawu głośnikowego. Wykorzystanie narożnika pokoju umożliwia oszczędną konstrukcję złożoną tylko z trzech ścian. Pojemność skrzyni wynosi 100dcm3. Wymiary wewnętrzne podano w mm.
Wymiary powinny być tak dobrane, aby osie głośników przecinały się pod kątem 600. Otoczenie punktu przecięcia tych osi jest najlepszym miejscem słuchania nagrań stereofonicznych.
Dokładniejsze wskazówki dotyczące wykonania obudowy można znaleźć w książce A. Witorta "Elektroakustyka dla wszystkich". W długim łańcuchu akustycznym, którego pierwszym ogniwem jest sala koncertowa, a ostatnim - pomieszczenie odsłuchowe, najsłabszym ogniwem wnoszącym najwięcej zniekształceń jest układ głośnikowy. Dlatego temu zagadnieniu należy poświęcić najwięcej uwagi.
WARTOŚCI ELEKTRYCZNE OPORNIKÓW I KONDENSATORÓW


ERRATA (Radioamator i Krótkofalowiec 1964/07)
Do artykułu pt. "Stereofoniczna aparatura gramofonowa wysokiej jakości" (nr 5/1964) wprowadza autor (mgr Zdzisław Krzystek) następujące uzupełnienia i poprawki:
- Lampy V1, V2, V3 - 3 x ECC83
Lampy V4, V5 - 2 x EL84
Lampa V6 - EZ81. - Połówka duotriody V3 pracująca w prawym torze powinna mieć numerację elektrod 1, 2, 3 a nie 6, 7, 8.
- Średnica drutu uzwojenia sieciowego ma wynosić 0.42mm a nie 0,45mm.
Wystarcza bezpiecznik sieciowy 0.5A. - Pojemność kondensatorów C5, C10, C'10 ma wynosić 50μF÷100μF, a nie 20μF÷50μF.
- Dane transformatora sieciowego na rdzeniu z odbiornika "Symfonia":
- rdzeń M100/35, pole przekroju 9.8cm2 brutto.
- uzwojenie sieciowe (220V) - 1082 zwoje, ø0.42mm.
- uzwojenie anodowe 1630 + 1630 zwojów ø0.23mm.
- uzwojenie żarzeniowe 34 zwoje, ø1.2mm.
- Moc pobierana przez wzmacniacz 70W.
Ten ciekawy artykuł z dawnych lat pracowicie wstukał Grzegorz Makarewicz "gsmok"