
Radioelektronik, grudzień 1990, rocznik XLI (139)
Z KRAJU I ZE ŚWIATA (2 strona okładki)
- Zestawy hi-fi typu FSB260 i FSB290 firmy PHILIPS.
Te nowe zestawy typu "wieża" o jednakowym wyglądzie - zdjęcie na okładce, są przeznaczone dla szerokiego kręgu nabywców o średnim poziomie dochodów. Oba typy zestawów są wyposażone w układy zdalnego sterowania, mają identyczne gramofony i płytofony CD, natomiast pewne różnice występują w innych członach zestawów. - Noszony, amatorski mieszacz - magnetofon.
Firma japońska Fostex oferuje nowy mieszacz - magnetofon kasetowy typu X-15-II. Urządzenie ma wymiary zewnętrzne 75 x 290 x 195 mm (z przyłączaną na wtyki baterią: 75 x 290 x 195 mm) i masę 2,9 kg (z baterią). Standardowa kaseta C-60 lub C-90 jest wykorzystana do wykonania nagrania 4 - ścieżkowego z czterech wejść urządzenia. - Najprostszy montaż światłowodów.
W początkach rozwoju techniki światłowodowej montaż światłowodów był czymś w rodzaju "wyższej szkoły gotowania na gazie" - potencjalnie prosty, wymagał jednak specjalnych narzędzi i przygotowania personelu. Dziś, kiedy światłowody instaluje się w domu i w samochodzie, trzeba było uprościć to do minimum. Temu celowi służy skręcane złącze światłowodowe.

- Telefony dla sieci komórkowej.
Komórkowa sieć telefoniczna w krajach rozwiniętych jest rzeczywistością już od kilku lat, jest też nadzieja, że w wyniku rezygnacji z monopolu państwa pojawi się ona i u nas, przynajmniej w największych aglomeracjach miejskich. - Kooperacja w mikroprocesorach.
Dwaj europejscy "wielcy" - Siemens i SGS-Thomson - współpracują w zakresie opracowań, produkcji i sprzedaży mikroprocesorów 8 i 16 - bitowych. Opracowana przez Siemensa rodzina mikroprocesorów 16 - bitowych zaczyna się już ukazywać na rynku (pierwszym układem handlowym jest 80C116) i, jak się okazało, przewyższa wszystko co było dotychczas dostępne w tej klasie układów.
OGŁOSZENIA (1)
ELEKTROAKUSTYKA - ZESPÓŁ GŁOŚNIKOWY "Duetto-Stereolith" (2)
Firma REVOX znana z wyrobów wysokiej jakości, oferuje stereofoniczny zespół głośnikowy działający zgodnie z nową koncepcją. Ponieważ jest on łatwy do odwzorowania i daje interesujące efekty dźwiękowe, warto zapoznać się z nim bliżej.
Klasyczny sposób odtwarzania stereofonicznego wymaga użycia dwóch zespołów głośnikowych odsuniętych od siebie na odległość tzw. bazy. Miejsce optymalnego odsłuchu stereofonicznego znajduje się przed zespołami głośnikowymi, symetrycznie względem nich. Dawno zauważono, że gdy zastosuje się zespoły głośnikowe o szerokim kącie promieniowania dźwięku, bądź zespoły promieniujące wszechkierunkowo, to położenie zajmowane przez słuchacza względem głośników jest mniej krytyczne, lecz stereofoniczny obraz dźwięku staje się mniej dokładny, szczególnie pod względem lokalizacji pozornych źródeł dźwięku.

Szwajcarski akustyk - Walter Schupbach - zaproponował rozwiązanie polegające na umieszczeniu głośników obu kanałów w jednej obudowie w taki sposób, że promieniują one w przeciwnych kierunkach, tj. w lewo oraz w prawo względem słuchacza. Okazało się, że najlepsze rezultaty daje obudowa o przekroju trójkątnym (patrz rysunek) podzielona ścianką na dwie części. Takie rozwiązanie można przyrównać do promieniowania dźwięków przez jedno źródło, w zasadzie wszechkierunkowe, z tym, że dźwięki promieniowane w stronę lewą i prawą oraz ich odbicia różnią się wskutek tego, że odpowiadają różnym kanałom stereofonicznym.
ZNIEKSZTAŁCENIA WNOSZONE PRZEZ KONDENSATORY ELEKTROLITYCZNE (2)
Podczas konstruowania układów elektronicznych kondensatory uważamy za elementy liniowe. Nie odpowiada to rzeczywistości, a w szczególności w wypadku kondensatorów elektrolitycznych, które w określonych warunkach mogą wnosić zniekształcenia nieliniowe. I to jest przedmiotem niniejszego artykułu.
Wiemy, że pojemność kondensatorów elektrolitycznych zmienia się znacznie przy zmianach temperatury (maleje gwałtownie przy temperaturach ujemnych) w zależności od częstotliwości prądu zmiennego. Pojemność dobrego, w pełni sprawnego i uformowanego kondensatora elektrolitycznego zmienia się nieco w zależności od wartości stałego napięcia polaryzującego, co zostało przedstawione na rysunku.

Wynika z tego, że w wypadku elektrolitycznych kondensatorów aluminiowych mamy do czynienia z przyrostem pojemności przy zwiększeniu napięcia polaryzującego, a w przypadku kondensatorów tantalowych - przeciwnie, występuje zmniejszenie pojemności.
TECHNIKA MIKROPROCESOROWA - MIKROKOMPUTER CA80 JAKO STEROWNIK ŚWIATEŁ (3)
Mikrokomputer CA80 może spełniać m.in. funkcję sterownika reklam świetlnych, świateł w dyskotece, węża świetlnego itp. Fizyczną realizację sterowania ośmioma kanałami świetlnymi zapewnia płyta MIK52. Schemat układu przedstawiono na rysunku.

Schemat tyrystorowego regulatora świateł
NOWA TECHNIKA I TECHNOLOGIA - TELEKOPIARKI (TELEFAKSY) (2) (5)
Dokumenty są analizowane linia po linii. Osiąga się to przez przesuw dokumentu pod listwą skaningową o jedną linię za pomocą wałka napędzanego silnikiem krokowym.
- Urządzenie drukujące.
Głowica drukująca aparatu telekopiowego zawiera 1728 (A4) elementów o wymiarach 1/8 x 1/8 mm. Elementami tymi steruje układ matrycowy. - Stopnie szarości.
Trzeba sobie zdać sprawę z tego, że utrwalone u nas pojęcie szarości w tym wypadku nie występuje. Nie ma tu bowiem modulowanej jaskrawości plamki świetlnej, do której przyzwyczailiśmy się, obserwując ekran monochromatycznego telewizora lub monitora komputera.
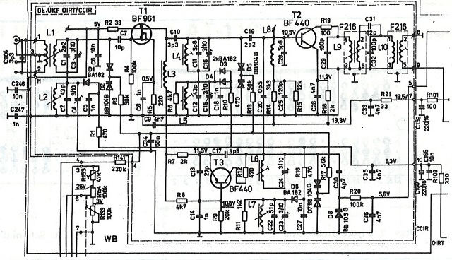
TECHNIKA RTV - DWUZAKRESOWA GŁOWICA UKF W ODBIORNIKACH DIORY (8)
W artykule opisano budowę dwuzakresowej (OIRT/CCIR) głowicy UKF zastosowanej w takich odbiornikach DIORY, jak: Tosca AWS 306, tuner analogowy AS 255, tuner z syntezą częstotliwości AS 954 (dostosowane gabarytowo i wzorniczo do zestawu MIDI) oraz tuner AS 844 (dostosowany do zestawu SEMI SLIM). Także następne odbiorniki tej firmy będą wyposażone w dwuzakresowe głowice UKF.

KLUB MŁODYCH ELEKTRONIKÓW - PODSŁUCH W POKOJU DZIECINNYM (9)
Układ został wykonany i praktycznie wypróbowany w laboratorium redakcji "Re". Przedstawione w artykule urządzenie stosuje się w pokoju dziecinnym, gdzie służy do kontrolowania zachowania się dziecka pozostawionego bez bezpośredniej opieki. Zakres zastosowań układu można rozszerzyć, np. do pomieszczeń sklepowych, warsztatów itp., np. służąc do kontroli obecności klientów w tych pomieszczeniach przez personel przebywający chwilowo na zapleczu obiektu.

Układ podsłuchu jest skonstruowany z trzema tranzystorami (T1, T2, T3). Poszczególne stopnie układu są wzmacniaczami m.cz. ze sprzężeniem pojemnościowym, połączonymi ze sobą kaskadowo.
PODZESPOŁY ELEKTRONICZNE - ELEMENTY PÓŁPRZEWODNIKOWE LAMINY (3) (10)
- Triaki.
Triak (tyrystor dwukierunkowy, symetryczny) jest trójzaciskowym pięciowarstwowym elementem półprzewodnikowym o prawie jednakowych właściwościach przełączania w pierwszej i trzeciej ćwiartce układu współrzędnych napięcie - prąd, tzn. przy obu kierunkach doprowadzonego napięcia przemiennego może pozostać okresowo w stanie blokowania lub w stanie przewodzenia.

Charakterystyka główna triaka (a - bez prądu bramki, b - z prądem bramki)
Odpowiedniki triaków
RADIOKOMUNIKACJA - STACJE RADIOFONICZNE AM EMITUJĄCE PROGRAM IV PR (13)
SCHEMATY - OTVC NEPTUN 202/203 I POCHODNE (2) (14)
- Moduł dekodera SECAM/PAL UMD-2011
- Moduł dekodera SECAM/PAL UMD-2012
- Moduł luminancji
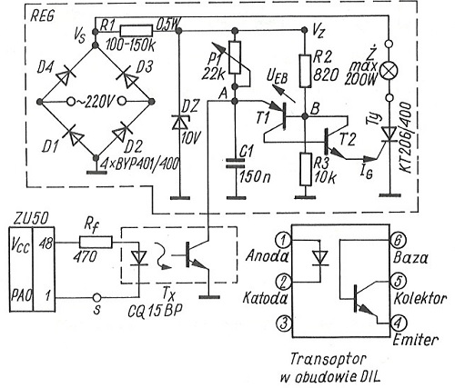
URZĄDZENIA ZASILAJĄCE - URZĄDZENIE DO AUTOMATYCZNEGO ŁADOOWANIA AKUMULATORÓW NI-CD (19)
Urządzenie zostało wykonane i praktycznie wypróbowane w laboratorium "Re". Akumulatory niklowo-kadmowe jako źródło zasilania przenośnych urządzeń elektronicznych stają się mimo wysokiej ceny, coraz bardziej popularne. Dzięki możliwości ładowania nadają się do wielokrotnego użytku. Mają też dodatkową zaletę - nie wyciekają. Wymagają jednak starannego traktowania, co dotyczy głównie właściwych warunków ładowania oraz niedopuszczania do całkowitego rozładowania akumulatorów. W poniższym artykule przedstawiono urządzenie do automatycznego ładowania akumulatorów typu KRH 15/51. W porównaniu z urządzeniami dostępnymi na rynku ma tę zaletę, że umożliwia zachowanie optymalnych warunków ładowania.
Na rysunku przedstawiono wykres zmian prądu ładowania akumulatorów niklowo - kadmowych w funkcji czasu ładowania. Krzywa 200 mA odpowiada ładowaniu przyspieszonemu, natomiast krzywa 100 mA - ładowaniu normalnemu.

Wykres przebiegu prądu ładowania akumulatorów Ni-Cd w funkcji czasu ładowania

Schemat blokowy układu scalonego ULY7855N
Na rysunku przedstawiono schemat urządzenia do ładowania akumulatorów niklowo - kadmowych, a dokładniej ich zestawu - czterech akumulatorów typu KRH 15/51 połączonych szeregowo.

Schemat urządzenia do ładowania akumulatorów Ni-Cd
ELEKTRONIKA W DOMU - PODCENTRALA ALARMOWA (21)
Podcentrala alarmowa została wykonana i praktycznie wypróbowana w laboratorium "Re".
Podcentrala alarmowa jest urządzeniem pośredniczącym między czujnikiem alarmowym a właściwą centralą alarmową. Jest stosowana wtedy, gdy centrala ma niewystarczającą liczbę wejść linii lub gdy wejścia te są innego typu niż wymagany. Podcentrala alarmowa opisana w artykule umożliwia w zasadzie dowolne zwiększenie liczby linii. Wejścia linii w podcentrali są typu parametrycznego. Umożliwia to stosowanie czujników dowolnego typu, tj. NO lub NC. Stan zrównoważenia linii jest sygnalizowany optycznie. Wyżej wymienione cechy podcentrali są szczególnie przydatne podczas uruchamiania założonego systemu alarmowego, a także podczas wykonywania późniejszych prac serwisowych. Umożliwiają także użytkownikowi codzienną kontrolę stanu systemu.

SERWIS RTV - USZKODZENIA OTV Z TRANSFORMATOREM LINII AT-110 (22)
Zamieszczony w numerze 3/1988 "Re" artykuł - "Typowe uszkodzenia odbiorników telewizyjnych CYGNUS T401 i URAN T601" zawiera wiele cennych uwag i informacji dotyczących sposobu diagnozowania i naprawy tych odbiorników. Znalazły się jednak tam dwa poważne błędy, które - jak sądzę - warto sprostować w interesie naprawiających odbiorniki tego typu.
POPRAWA NIEZAWODNOŚCI TRANSFORMATORA AT-110 (23)
Transformator AT-110 jest stosowany w różnych typach krajowych OTV czarno-białych. Oto sposób na zmniejszenie jego awaryjności.
Przyczyną prawie wszystkich uszkodzeń w transformatorze AT-110 jest przebicie i zwarcie w cewce wysokiego napięcia. Zwarcie występuje między początkiem uzwojenia wysokiego napięcia a uzwojeniem nawiniętym na spodzie cewki.

OCENY EKSPLOATACYJNE - SYRIUSZ TC502 (23)
Badany odbiornik był wybrany losowo z partii przechodzącej uprzednio badania technoklimatyczne. Ogólny czas badania w warunkach normalnej eksploatacji domowej wyniósł 1700 godzin i w ciągu tego czasu odbiornik nie uległ uszkodzeniom uniemożliwiającym odbiór...
...Pierwsze wrażenie wizualne: odbiornik nie pochodzi z tej epoki. Skrzynka przypomina okres "średniego Gierka"...
RÓŻNE (24)
- Międzynarodowe Hanowerskie Targi Przemysłowe.
Na tej gigantycznej imprezie handlowej z ekspozycjami wielu branż przemysłowych i wielu rodzajów technologii, dla naszych Czytelników niewątpliwie najciekawsza była ekspozycja "Microtronic - podzespoły elektroniki".

OGŁOSZENIA (26)
SPIS TREŚCI ROCZNIKA "RE" 1990 (31)